
Energía bajo control
Tienda online de accesorios y repuestos para sistemas de puesta a tierra y protección contra rayos
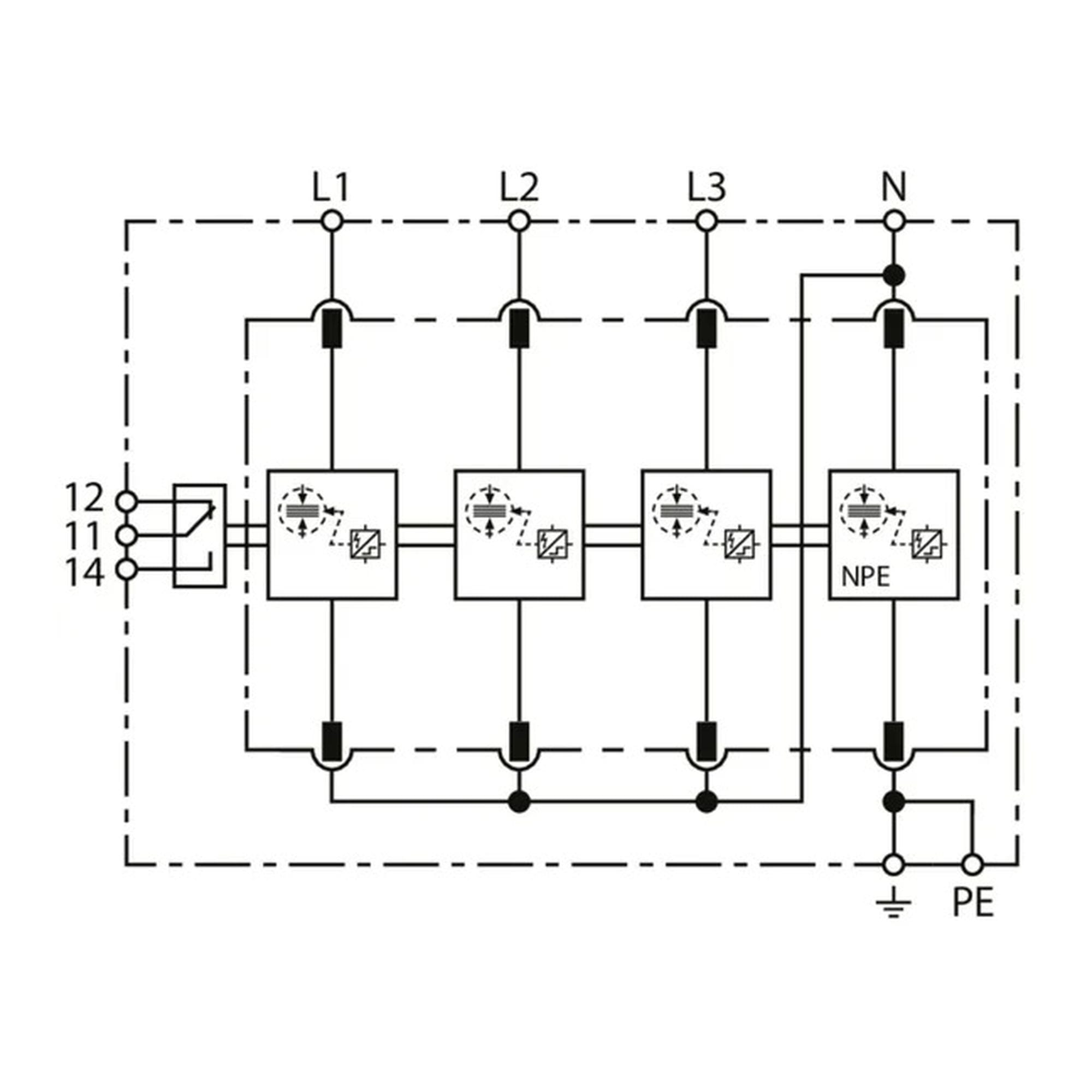
Supresor de sobretension DEHNvista tipo I+II para 3F+N+T, voltaje nominal 120/150 V DEHN 900346
$ 2,668.00
- DPS según EN 61643-11 / … IEC 61643-11 Tipo 1 + Tipo 2 + Tipo 3 / Clase I + Clase II
- Protección energéticamente coordinada al equipo final (≤ 10 m) Tipo 1 + Tipo 2 + Tipo 3
- Tensión nominal AC (UN ) 120 / 208 V
- Máxima tensión permisible de servicio AC [L-N]/[N-PE] (UC ) 150 V (50 / 60 Hz)
- Corriente de choque de rayo (10/350 µs) [L1+L2+L3+N-PE] (Itotal ) 100 kA
- Energía específica [L1+L2+L3+N-PE] (W/R) 2,50 MJ/Ω
- Corriente de choque de rayo (10/350) [L-N]/[N-PE] (Iimp ) 25 / 100 kA
- Energía específica [L-N]/[N-PE] (W/R) 156,25 kJ/Ω / 2,50 MJ/Ω
- Corriente nominal de descarga (8/20 µs) [L-N]/[N-PE] (In ) 25 / 100 kA
- Nivel de protección [L-N]/[N-PE] (UP ) ≤ 1,5 / ≤ 1,5 kV
- Capacidad de apagado de corriente consecutiva [L-N]/[N-PE] (Ifi ) 25 kAeff / 100 Aeff
- Limitación de la corriente consecutiva / Selectividad Sin disparo de fusible de 32 A gG hasta 25 kAeff (prosp.)
- Tiempo de respuesta (tA ) ≤ 100 ns
- Fusible previo máximo (L) hasta IK = 50 kAeff 250 A gG
- Tensión TOV [L-N] (UT) – Característica 440 V / 120 min – soportado
- Tensión TOV [N-PE] (UT) – Característica 1200 V / 200 ms – soportado
- Prueba de tensión adicional con: 485 V AC / 50 Hz para 24 h Resistencia
- Energía de paso con un S20K275 (Iimp = 2,5 … 25 kA) < 1 J
- Margen de temperatura de servicio [paralelo]/[serie] (TU ) -40 °C … +80 °C / -40 °C … +60 °C sección de conexión (L1, L2, L3, N, PE, 9) (Mín.) 10 mm2 rígido / flexible sección de conexión (L1, L2, L3, N, PE) 9) (Máx.) 35 mm2 flexible / 25 mm2 hilos finos
- Montaje en Carril DIN de 35 mm según EN 60715
- Material de la envolvente Termoplástico, rojo, UL 94 V-0
- Lugar de instalación Espacio interior
- Clase de protección IP 20
- Medidas de montaje 4 mods., DIN 43880
- Contactos FM / forma de contacto Contacto conmutado
- Potencia de conmutación AC 250 V / 0,5 A
- Potencia de conmutación DC 250 V / 0,1 A; 125 V / 0,2 A; 75 V / 0,5 A
- Sección de conexión para bornas FM máx. 1,5 mm2 rígido / flexible
- Normas de verificación EN 61643-11 (VDE 0675-6-11):2002-12
- Unidad: pieza
Ficha técnica
Hasta 12 pagos sin tarjeta con Mercado Pago.
Saber más








Valoraciones
No hay valoraciones aún.